在过去十年间,AI与游戏技术呈现出迅猛发展的态势,各游戏公司纷纷踊跃申请极具创新性的专利。如今,索尼的一项全新专利或许会给我们所熟知的游戏开发带来颠覆性的改变。

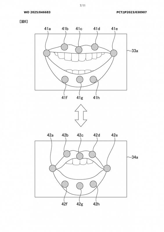
近期,索尼公布了一项新专利,它描述了一套针对游戏NPC的次世代唇形同步系统,该系统能够轻而易举地实现多语言版本下译制台词和嘴部动作的精准匹配。
此系统可以对NPC嘴部动作在所有支持语言中的表现效果进行评估,并且为开发者生成相似度评分,为游戏开发提供参考依据。同时,它还配备了自动化修复方案,通过动态调节译制语音的时长以及角色下颌的运动轨迹,精确地与原始台词的时序节奏对齐。
索尼指出,NPC口型与本地化语音的错位会严重破坏游戏的沉浸感,进而让玩家感到失望。传统的手动调整方式不仅耗费时间,而且工作量巨大,而这项技术将把开发团队从这种重复的劳动中解放出来。如果该技术最终能够落地应用,很可能会大幅缩短游戏的开发时间。




























